销售热线:86-0577-66998225
 
设为首页
收藏我们
联系我们
 
  
排污泵
污水泵
液下泵
止回阀
球阀
截止阀
闸阀
喷射器
旋涡泵
油泵
管道泵
潜水泵
手摇泵
磁力泵
螺杆泵
真空泵
多级泵
化工泵
隔膜泵
离心泵
自吸泵
 首页 > 产品展示 > 隔膜泵 > DBY-P型不锈钢电动隔膜泵 > DBY-P型不锈钢电动隔膜泵
  产品展示
 

DBY-P型不锈钢电动隔膜泵

点击放大
产品型号:
DBY-P型
产品报价:
10
产品特点:
主要销售:排污泵,离心泵,气动隔膜泵,无堵塞排污泵,手摇泵,磁力泵,真空泵,自吸泵,管道离心泵,隔膜泵,化工泵,齿轮泵,螺杆泵,浓浆泵,泥浆泵,多级泵,旋涡泵,液下泵等
  DBY-P型DBY-P型不锈钢电动隔膜泵的详细资料:

DBY-P型不锈钢电动隔膜泵产品概述: 

DBY型不锈钢电动隔膜泵是一种新型的泵类,近年来,由于在隔膜材质上取得了突破性的进展,上越来越多的工业化国家采用此种型式的泵,取代部份离心泵螺杆泵,来应用于石化、陶瓷、冶金等行业,产品设计均参考美国ABEL公司样机,该泵适用于低压,即出口压力≤3kgf/cm2的场合。 

DBY-P型不锈钢电动隔膜泵型号意义: 

 

DBY-P型不锈钢电动隔膜泵产品特点: 

  一、QBY型不锈钢电动隔膜泵不需灌引水,自吸能力达7米以上。
  二、通过性能好,直径在10毫米以下的颗粒、泥浆等均可以毫不费力地通过。
  三、由于隔膜将被输送介质和传动机械件分开,所以介质不会向外泄漏。且泵本身无轴封,使用寿命大大延长。根据不同介质,隔膜分为氯丁橡胶、氟橡胶、丁晴橡胶等,可以满足不同用户的要求。
  四、电动隔膜泵泵体介质流经部份,可根据用户要求,分为铸铁、铝合金、不锈钢、衬胶、衬氟,电机分为普通式和防爆式(B3d)两种。 

DBY-P型不锈钢电动隔膜泵性能范围: 

流量:0-20m3/h;     扬程:30m;    功率:0.37-4kw;    转速:1450r/min;
口径:10-100mm;   温度:-15-+150℃;    自吸高度:5-7m。 

DBY-P型不锈钢电动隔膜泵性能曲线图: 

 

DBY-P型不锈钢电动隔膜泵产品用途: 

1、 隔膜泵吸花生酱、泡菜、土豆泥、小红肠、果酱、苹果浆、巧克力等。
2、 隔膜泵吸油漆、树胶、颜料。
3、 粘合剂和胶水等全部钟类可用泵吸取。
4、 各种瓦、瓷、砖器及陶器釉浆。
5、 油井钻好后,用泵吸沉积物及灌浆。
6、 隔膜泵吸各种污水。
7、 隔膜泵吸各种乳剂和填料。
8、 用隔膜泵为油轮、驳船清仓吸取仓内污水。
9、 啤酒花及发酵粉稀浆、糖浆、糖蜜。
10、隔膜泵吸矿井、炕道、隧道、选矿、矿渣中的积水。
11、隔膜泵吸水泥灌浆及灰浆、各种橡胶浆。
12、各种磨料、腐蚀剂、石油及泥浆、清洗油垢及一般容器。
13、各种剧du、易燃、易挥发液体。
14、各种强酸、强碱、强腐蚀液体 。 

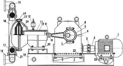
DBY-P型不锈钢电动隔膜泵结构图: 

 

 

编号

名称

材质

数量

编号

名称

材质

数量

1

电机

 

1

16

泵体

铝合金

2

2

联轴器

HT200

2

铸铁

3

六角弹性块

氯丁橡胶

1

不锈钢

4

偏心轮

HT250

2

衬胶

5

连杆

ZG

2

17

阀球

不锈钢

4

6

减速箱

 

1

18

进水管

铝合金

1

7

螺栓

Q235-A

4

铸铁

8

开口销

Q235-A

2

不锈钢

9

活塞销

A3

2

衬胶

10

活塞

无缝管两端焊接

2

19

底座

HT200 槽钢

1

11

缸套

HT200

2

20

螺栓

Q235-A

8

12

油杯

 

2

21

阀口座

氯丁橡胶 丁晴橡胶

4

13

螺栓

Q235-A

16

22

螺栓

Q235-A

4

14

隔膜

丁晴橡胶 氯丁橡胶

4

23

螺栓

Q235-A

4

15

出水管

铝合金

1

24

压板

A3

4

铸铁

 

 

 

 

不锈钢

 

 

 

 

衬胶

 

 

 

 

 

DBY-P型不锈钢电动隔膜泵膜片的选择:

DBY型不锈钢电动隔膜泵的主要部件是隔膜.正确选用隔膜可以达到事半功倍的目的,用户订货时须注明输送介质的性质,以便出厂时配备不同隔膜,一般隔膜有下列几种: 1.丁晴隔膜;主要用于耐油场合。 2.氯丁橡胶5031#本单位特制,主要用于耐丙酮及各种酸类、碱类。 3.氟橡胶6021#本单位特制,主要用于高温150℃:,耐甲笨耐腐蚀。但价格比其它隔膜高。 4.食品橡胶,于食品饮料的输送。 

DBY-P型不锈钢电动隔膜泵工作原理模拟图: 

 

DBY-P型不锈钢电动隔膜泵性能参数: 

 

型号

流量

m3/h

吸程

m

扬程

m

出口压力

kgf/cm2

转速

r/min

电机功率kW

使用温度

泵进出口尺寸

重量kg

铸铁

不锈钢

DBY-10

0.5

3

30

3

1450

0.55

90

150

3/8"丝扣

50

DBY-15

0.75

3

30

3

1450

0.55

90

150

1/2”丝扣

50

DBY-25

3.5

4

30

3

1450

1.5

90

150

1/2”丝扣

170

BBY-40

4.5

4

30

3

1450

2.2

90

150

11/2"丝扣

180

DBY-50

6.5

4.5

30

3

1450

4

90

150

50mm法兰

400

DBY-65

8

4.5

30

3

1450

4

90

150

65mm法兰

400

DBY-80

16

5

30

3

1450

5.5

90

150

80mm法兰

610

DBY-100

20

5

30

3

1450

5.5

90

150

100mm法兰

610

 

DBY-P型不锈钢电动隔膜泵注意事项: 

1、泵出口严禁安装阀门,如必需装阀门;要在出口安装安全阀门,工作压力不得超过4公斤,以免造成损失。
2、应及时加油,保持润滑系统正常运转。
3、泵在使用中环境温度应小于40℃、电机温度不得超过75℃。
4、被输送的介质及其温度应在泵材允许范围内。
5、对于输送液体为易沉淀结晶的介质时,使用后应及时清洗排净泵内积物,以免再开时损坏。 

DBY-P型不锈钢电动隔膜泵使用注意事项: 

1、保证流体中所含的zui大颗粒不超过泵的zui大安全通过颗粒直径标准。
2、静电火花可能引起爆炸导致人身伤亡事故和财产的损失,根据需要使用足够大截面积的导线,把泵上的接地螺钉妥善可靠接地。
3、接地要求符合当地法规法律要求及现场的一些特殊要求的规定。
4、紧固好泵及各连接管接头,防止因振动、撞击、擦磨产生静电火花。使用抗静电软管。
5、要周期性地检查和测试接地系统的可靠性,要求接地电阻小于100欧姆。
6、保持良好的排气和通风、远离易燃易爆和热源。
7、当输送易燃和有毒的流体时,请将排口接到远离工作区的安全地方。
8、请使用至少3/8"内径内壁光滑的管道连接排气口和消声器。
9、流体的高压可能会导致严重的人身伤亡和财产损失,请不要在泵加压时,对泵及料管系统进行任何的维修工作,如要做维修时,先切断泵的进气,打开旁通的卸压机构使管路系统卸压,慢慢松开连接的各管道接头。
10、如输送有害有毒流体,请不要把泵直接送到厂家来修理。根据当地法律法规妥善处理,并使用奥丰公司纯正配件以保证使用寿命。
11、液体输送部分使用铝合金材料的泵,请不要用来输送含有Fe3+的液体和卤代烃及其他的卤代碳氢化合物溶剂,则将会产生腐蚀引起泵体爆裂。
12、保证所有接触输送体的部件不会被输送的流体腐蚀损坏。
13、保证所有的操作人员熟悉操作使用和掌握泵的安全使用注意事项,必要的话,配给必需的防护用品。
14、正确使用泵,不允许长时间的空运转。
15、在工作恶劣的地方,如建筑工地、工矿的废水排放、由于污水中的杂质且成分复杂,管路易于堵塞,这样对电动泵就形成负荷过高的情况,电机发热易损,主轴易断裂。 

隔膜泵订货友情提示: 

请提供以下详细数据:①DBY-P型不锈钢电动隔膜泵产品名称与型号②DBY-P型不锈钢电动隔膜泵流量③DBY-P型不锈钢电动隔膜泵扬程(m)④DBY-P型不锈钢电动隔膜泵口径⑤DBY-P型不锈钢电动隔膜泵电机功率(KW)⑥DBY-P型不锈钢电动隔膜泵转速(r/min)⑦DBY-P型不锈钢电动隔膜泵电压〔V〕⑧DBY-P型不锈钢电动隔膜泵吸程(m)⑨DBY-P型不锈钢电动隔膜泵是否带附件以便我们的为您正确选型。
若已经由设计单位选定我公司的DBY-P型不锈钢电动隔膜泵产品型号,请按DBY-P型不锈钢电动隔膜泵型号直接向中耐泵阀销售部订购。
当使用的场合非常重要或环境比较复杂时,请您尽量提供设计图纸和详细参数,由我们中耐泵阀的技术专家为您审核把关。
感谢您访问我们中耐泵阀的【www.b-fz.com】如有任何疑问.您可以致电给我们,:、66998226,我们一定会尽心尽力为您提供优质的服务。 

 
产品相关关键字: 不锈钢隔膜泵 电动隔膜泵 耐腐蚀隔膜泵
 如果你对DBY-P型DBY-P型不锈钢电动隔膜泵感兴趣,想了解更详细的产品信息,填写下表直接与厂家联系:

留言框

  • 产品:

  • 您的单位:

  • 您的姓名:

  • 联系电话:

  • 常用邮箱:

  • 省份:

  • 详细地址:

  • 补充说明:

  • 验证码:

    请输入计算结果(填写阿拉伯数字),如:三加四=7
 相关同类产品:
没有相关产品信息...
 
 
  86-0577-66998225
  18958793939
  86-0577-66998228
  2822080057
排污泵,离心泵,气动隔膜泵,自吸泵,化工泵,磁力泵,真空泵,管道泵等
-->返回首页
浙江中耐泵业有限公司 地址:浙江省永嘉县瓯北镇三桥工业区
电 话:86-0577-66998225 手 机:18958793939 传 真: 86-0577-66998228 邮 编:325105
技术支持:化工仪器网 ICP备:浙ICP备12027103号-2 访问统计343671 GoogleSitemap 管理登陆
86-0577-66998225
18958793939

化工仪器网

推荐收藏该企业网站